Зміст
- Что такое полиспаст и усилительный блок?
- Полиспаст как блок для усиления лебедки
- Принцип работы и сферы применения
- Как правильно использовать блоки и полиспасты: советы
- Почему стоит купить такелаж на Lebedka.ua
Когда мощности стандартного оборудования становится недостаточно, на помощь приходит система блоков и профессиональное оснащение. Лебедка — это универсальное подъемное устройство, которое позволяет эффективно перемещать грузы по горизонтали и вертикали. Поскольку физические возможности человека ограничены, решение купить лебедку в интернет-магазине Lebedka.ua станет лучшим способом автоматизировать работу и сберечь ваше время.
Сегодня на рынке представлено огромное количество механизмов: от складских решений до оффроуд аксессуаров. В нашем каталоге вы найдете такие категории, как профессиональные тали, надежные домкраты для авто, грузоподъемные блоки и разнообразные по типу лебедки. Основой работы большинства этих устройств является полиспаст.

Что такое полиспаст и усилительный блок?
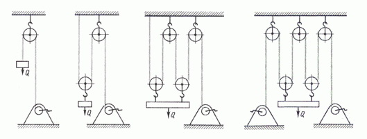
Полиспаст — это система блоков и тросов, предназначенная для получения кратного выигрыша в силе. Конструкция состоит из двух частей:
- Неподвижный блок: крепится на жесткой опоре и изменяет траекторию движения стального каната.
- Подвижный блок: крепится непосредственно к объекту подъема, обеспечивая выигрыш в силе за счет проигрыша в расстоянии.
Это простое системное оборудование позволяет поднять груз или вытянуть автомобиль, затрачивая в два или три раза меньше тягового усилия.

Полиспаст как блок для усиления лебедки
Использование блока для усиления лебедки — это самый надежный метод увеличить тяговую способность вашего устройства. Если правильно скомбинировать монтажные блоки, вы сможете увеличить мощность механизма более чем в три раза.
Как усилить лебедку с помощью блока:
- Трос для лебедки одним концом закрепляется на барабане.
- Другая часть троса пропускается через колесо полиспаста.
- Блок-ролик надежно фиксируется на опоре (дерево, столб или якорь).
- Крюк возвращается к машине и крепится на буксировочный крюк.
Такая схема полиспаста — это незаменимый такелажный набор для любого владельца внедорожника.

Принцип работы и сферы применения
Система грузоподъемных блоков активно используется там, где требуется большая грузоподъемность: на строительных площадках, в складских помещениях и при эвакуации авто. Принцип работы полиспаста подобен рычагу: вы выполняете ту же работу, но с минимальными усилиями.
Многие подъемные механизмы, такие как электрические тали, ручные лебедки, подъемные краны и экскаваторы, уже имеют встроенную систему блоков. Это позволяет им работать с экстремальными весами, не перегружая электродвигатель или механические части.

Как правильно использовать блоки и полиспасты: советы
- Запас длины: Поскольку полиспаст уменьшает длину троса вдвое, вам может понадобиться удлинитель троса.
- Отсутствие перекосов: Тросы и ролики должны быть собраны параллельно, без пересечений, чтобы избежать трения и преждевременного износа.
- Защита от перегрузки: Даже если мощности хватает, блоки полиспаста помогают разгрузить тяговое устройство, защищая его от перегрева и продлевая его ресурс.
- Качество такелажа: Важно использовать только проверенные грузовые блоки, которые соответствуют весу вашего объекта.
Популярные блоки для троса
Блок для троса 8 т Husar |
Блок для троса такелажный 15 т Dragon Winch |
Почему стоит купить такелаж на Lebedka.ua
В нашем ассортименте представлен лучший выбор грузоподъемных механизмов. Если вам нужна выгодная цена на полиспаст, профессиональная консультация или вы хотите изучить характеристики лебедок, наш сайт станет идеальным помощником.
Мы предлагаем купить качественное снаряжение, прошедшее испытания в реальных условиях. У нас вы найдете самые популярные товары для туризма, домкраты для оффроуда, блоки и тросы по лучшим предложениям на рынке. Выбирайте надежность и безопасность вместе с Lebedka.ua!

